通行证 | 帐号:
密码:
登录
注册
|
登录
登录
登录
登录
域名空间
旧版主页
免费下载
教程中心
网站首页
技术交流
社群广场
赚积分
技术服务
应用市场
建个小程序
共享生活圈
服务热线
020-28998648
精准搜索
当前位置:
网站首页
社区论坛
站长杂谈
官方动态
功能建议
插件模块
风格模板
问题反馈
技术交流
站长杂谈
代码共享
V系列产品
运营交流
社区主页
共享生活圈
站长杂谈
分享
收藏
举报
X
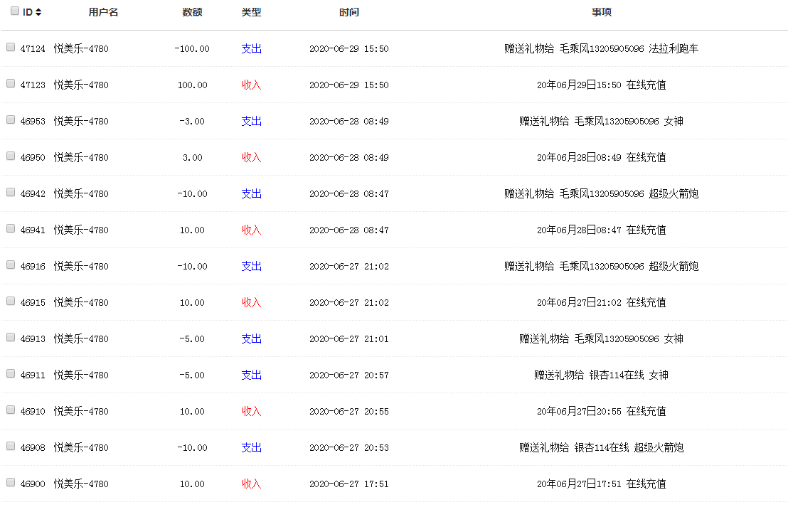
“悦美乐-4780” 此人家里可能有矿,大家知道怎么做了吧。
admin
消费3.04元
2020-07-02 07:20 07:20
超级管理员
625
15
大家看看下面的图片,懂了吧?
说直白点,以后他提的问题,大家都尽力的帮助他,你给他滴水,他可能会回报你涌泉。是一个非常懂得感恩的人。
当然我们论坛上懂得感恩的人也还有很多。
10
赏礼
赏钱
收藏
点击回复
全部留言
共
15
条
Szup.com乐刷朱弟
实战运营者
消费:4824.58元 2020-07-02 09:59 09:59
6楼
老毛的粉丝
群星
消费:0元
小米
2020-07-03 08:50
乘风同志实战经验丰富,他还有很多干货还没有分享出来。
红色灯塔
消费:0元
小米
2020-07-03 08:56
这里的站长撸代码的不少,懂市场运营的不多。
红色灯塔
消费:0元
小米
2020-07-03 08:57
应该多鼓励实战派,多分享些技巧、经验等等。
0
赏钱
赏礼
回复
欢迎来访http://www.Szup.com
活着比什么都重要
纳沃纳
程序开发者
消费:1560.05元 2020-07-02 23:10 23:10
华为
6楼
其实,我想说我家也有矿,我只是比较低调,我家有门框
银杏114在线
消费:3609.79元
2020-07-02 23:26
我家有两个矿,更低调,一个是门框,一个是相框
群星
消费:0元
小米
2020-07-03 08:51
0
赏钱
赏礼
回复
纳沃纳工作室诚接网站开发、模块开发、插件开发、仿站等业务
悦美乐-4780
普通粉丝
消费:7860.43元 2020-07-02 09:24 09:24
华为
6楼
这标题!没矿工人一个!说实在的论坛氛围很好!
小溪流
消费:1175.09元
2020-07-02 19:58
来伙计,涌个泉
平行线网络01
消费:3115.99元
2020-07-03 01:29
给我送个礼物呗哥哥,还 是小姐姐美女还是帅哥哥,??
1
赏钱
赏礼
回复
平行线网络01
实战运营者
消费:3115.99元 2020-07-03 01:26 01:26
6楼
可能是他媳妇,给她老公加票,
0
赏钱
赏礼
回复
啡巅
普通粉丝
消费:1381.19元 2020-07-02 17:11 17:11
6楼
@admin,消费记录牵扯到隐私和安全问题,建议官方加强下,建议除非创建者唯一帐号可以查看外,其他管理帐号不可以查看。同时也建议@admin 不要随便贴出消费记录这些含隐私问题,如需要要本人同意,并声明才可以。仅仅是建议,逆耳请自动略过。
0
赏钱
赏礼
回复
这是啥
尾巴
实战运营者
消费:2942.48元 2020-07-02 08:20 08:20
6楼
看似家里果真有矿
0
赏钱
赏礼
回复
我会一笑而过所有的心酸,所有的不快乐!
云上XY
普通粉丝
消费:0元 2020-07-02 07:37 07:37
华为
6楼
那么早啊,真是够辛苦的
0
赏钱
赏礼
回复
admin
超级管理员
消费:3.04元 2020-07-02 07:21 07:21
6楼
发这个贴子的目的是希望大家能形成互帮互助的活跃氛围,包括我们将要推出的应用市场砍价也是为了进一步促进这种氛围。
因为每天这么多人提问题,我们开发完善程序太忙,是很难一一及时解答的。
0
赏钱
赏礼
回复
网站没有直接报错,如何查看错误原因,解决方案如下:
https://www.kancloud.cn/php168/x1_of_qibo/1544387
更多回复
你可能感兴趣的主题
恢复多功能编辑器
3
1
发表回复
共享生活圈
发表圈内新贴
圈内贴子
4970
圈子成员
45
本圈子内的新贴
更多
热门分类
官方动态
功能建议
插件模块
风格模板
问题反馈
技术交流
站长杂谈
代码共享
V系列产品
运营交流
推荐内容
更多
扫一扫访问手机版
3
1
回到顶部
请选择要切换的马甲:
网页即时交流
客服MM
QQ咨询
81684210
咨询热线
020-28998648