共享生活圈
分享
  • 收藏
  • 举报
    X
    系统的定时任务不能准时执行,这很影响使用效果啊。
    1279
    13

        后台的定时任务不能准时执行,这会对许多必须定时进行的任务会造成很严重的后果,希望官方能优化一下。

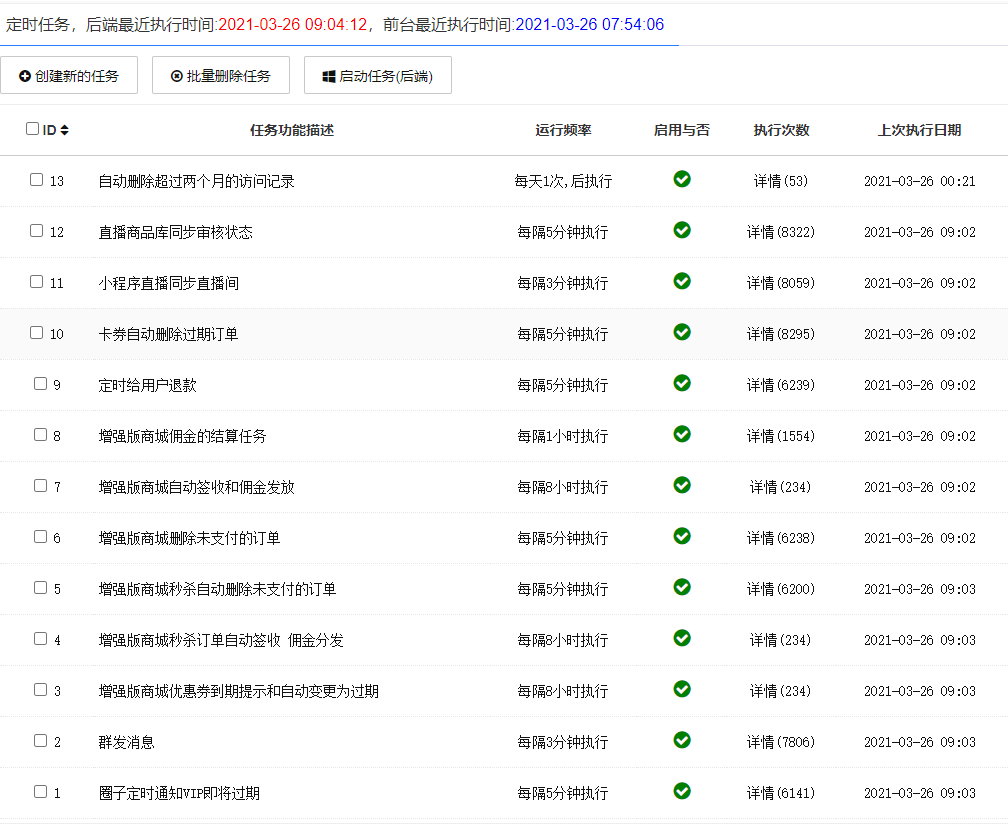
        如上图所示,圈子定时通知VIP即将过期,定时任务里是每5分钟执行,但实际执行时间很多都超过5分钟太多,其他定时任务也是一样,没有一个定时任务是准时执行的。



    3
    赏礼
    赏钱
    收藏
    点击回复
        全部留言
    • 13
    • Suifeng 程序开发者 消费:23.24元 2021-03-26 09:26 09:266楼
      你服务器设置的定时任务url 执行的太慢导致的


      午夜梦寒 消费:1817.13元 其他手机 2021-03-26 09:55
      没人访问网站时,也会延迟半个到一个小时,这没理由啊。但是如果有人访问网站时,反而刷新得很快了。
      Suifeng 消费:23.24元 2021-03-26 10:03
      @午夜梦寒 那是你没有设置服务器定时任务,所以只要有人访问才会执行 你需要设置一个服务器定时器
      午夜梦寒 消费:1817.13元 其他手机 2021-03-26 10:05
      这些定时任务不是系统自带的吗?
      admin 消费:3.04元 2021-03-26 10:29
      @午夜梦寒
      自己进宝塔面板添加定时刷新
      否则的话,靠网站前台有用户访问才刷新。是不靠谱的
      午夜梦寒 消费:1817.13元 2021-03-26 11:43
      @admin 按官方说明文档里,后台任务有四种方式,目前使用的不就是四种方式里的第一种吗?如果要改成宝塔来做定时任务,去哪里找URL地址呢?
      admin 消费:3.04元 2021-03-26 14:50
      @午夜梦寒
      https://x1.php168.com/index.php/index/task/index.html
      换成你的域名。教程中心本来就有的
      Suifeng 消费:23.24元 2021-03-26 14:51
      @午夜梦寒
      你的域名/index.php/index/task/index.html  按上面的图在宝塔加计划任务
      午夜梦寒 消费:1817.13元 2021-03-26 16:29
      谢谢两位老大,添加上去了,回头看看会不会实时一些。
      午夜梦寒 消费:1817.13元 2021-03-26 16:47
      @admin /www/server/cron/8e203dc6478258f3c61912bd1e04876c: line 4: https://xmssjt.com.cn/index.php/index/task/index.html: No such file or directory
      ----------------------------------------------------------------------------
      ★[2021-03-26 16:45:01] Successful

      宝塔里添加了定时任务,出现这个错误提示。任务不能自动刷新。
      午夜梦寒 消费:1817.13元 2021-03-26 16:48
      @午夜梦寒 一个云服务器,两个网站,一个网站可以正常执行,另一个网站出现上述错误提示,无法自动执行。是哪里数据冲突了吗?
    0 赏钱 赏礼回复
    • 金森 实战运营者 消费:1479元 2021-03-26 13:51 13:516楼
      有点不科学
    0 赏钱 赏礼回复
    • 袁冬 普通粉丝 消费:160.85元 2021-03-26 11:37 11:37
      华为
      6楼
      宝塔里需要有计划任务的
    0 赏钱 赏礼回复
    更多回复
        你可能感兴趣的主题
    恢复多功能编辑器
  • 3 1
  • 共享生活圈
        圈内贴子4970
    • 圈子成员45
    本圈子内的新贴

    推荐内容
    扫一扫访问手机版
    请选择要切换的马甲:

     
    网页即时交流
    QQ咨询
    咨询热线
    020-28998648