通行证 | 帐号:
密码:
登录
注册
|
登录
登录
登录
登录
域名空间
旧版主页
免费下载
教程中心
网站首页
技术交流
社群广场
赚积分
技术服务
应用市场
建个小程序
服务热线
020-28998648
精准搜索
当前位置:
网站首页
社区论坛
功能建议
官方动态
功能建议
插件模块
风格模板
问题反馈
技术交流
站长杂谈
代码共享
V系列产品
运营交流
社区主页
功能建议
分享
收藏
举报
X
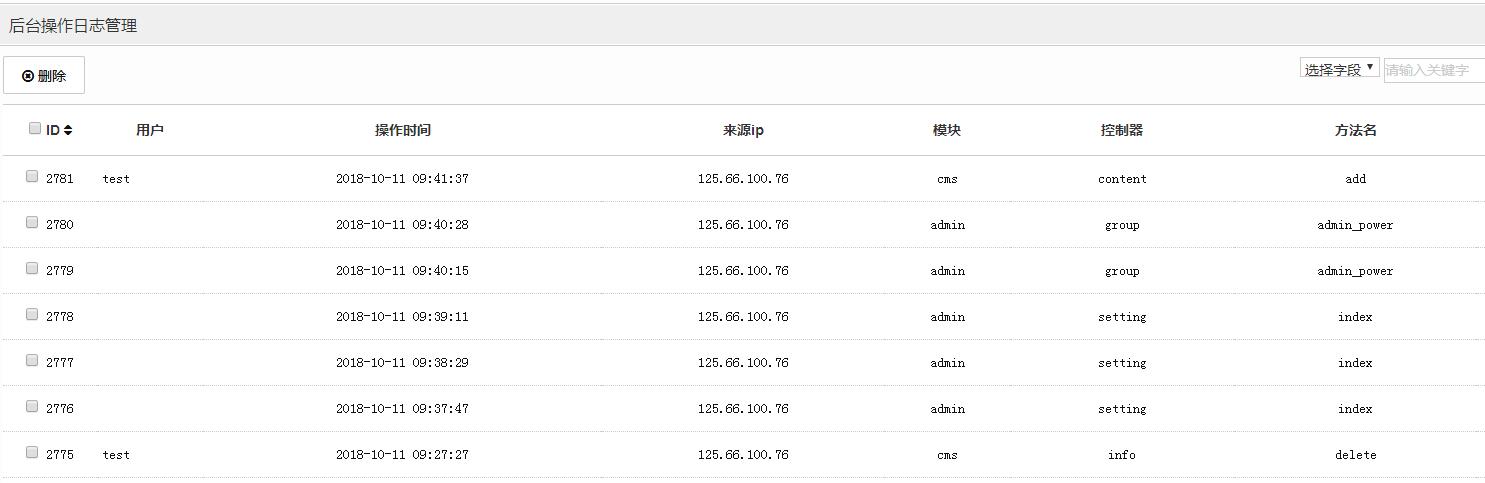
后台操作日志管理 不够完善 不清楚用户对那条数据进行操作
雪蓉网络&果城网仔
消费2610.1元
2018-10-11 09:46 09:46
风格开发者
793
3
后台操作日志管理 不够完善 不清楚用户对那条数据进行了操作、只知道是这个用户操作了的。但是看记录看不出来是操作的什么数据,希望完善下
11
赏礼
赏钱
收藏
点击回复
全部留言
共
3
条
admin
超级管理员
消费:3.04元 2018-10-11 09:57 09:57
6楼
晚点再做个文字描述解释吧
雪蓉网络&果城网仔
消费:2610.1元
2018-10-11 09:58
谢谢
0
赏钱
赏礼
回复
网站没有直接报错,如何查看错误原因,解决方案如下:
https://www.kancloud.cn/php168/x1_of_qibo/1544387
Szup.com乐刷朱弟
实战运营者
消费:4824.58元 2018-10-11 09:50 09:50
6楼
坐等更新
0
赏钱
赏礼
回复
欢迎来访http://www.Szup.com
活着比什么都重要
更多回复
你可能感兴趣的主题
不够
后台
完善
操作
数据
清楚
用户
管理
进行
恢复多功能编辑器
3
1
发表回复
发表新贴
热门分类
官方动态
功能建议
插件模块
风格模板
问题反馈
技术交流
站长杂谈
代码共享
V系列产品
运营交流
推荐内容
更多
扫一扫访问手机版
3
1
回到顶部
请选择要切换的马甲:
网页即时交流
客服MM
QQ咨询
81684210
咨询热线
020-28998648