通行证 | 帐号:
密码:
登录
注册
|
登录
登录
登录
登录
域名空间
旧版主页
免费下载
教程中心
网站首页
技术交流
社群广场
赚积分
技术服务
应用市场
建个小程序
X1运营交流
服务热线
020-28998648
精准搜索
当前位置:
网站首页
社区论坛
风格模板
本圈子 广告位招租:1.00元(1天),点击购买。
官方动态
功能建议
插件模块
风格模板
问题反馈
技术交流
站长杂谈
代码共享
V系列产品
运营交流
社区主页
X1运营交流
风格模板
分享
收藏
举报
X
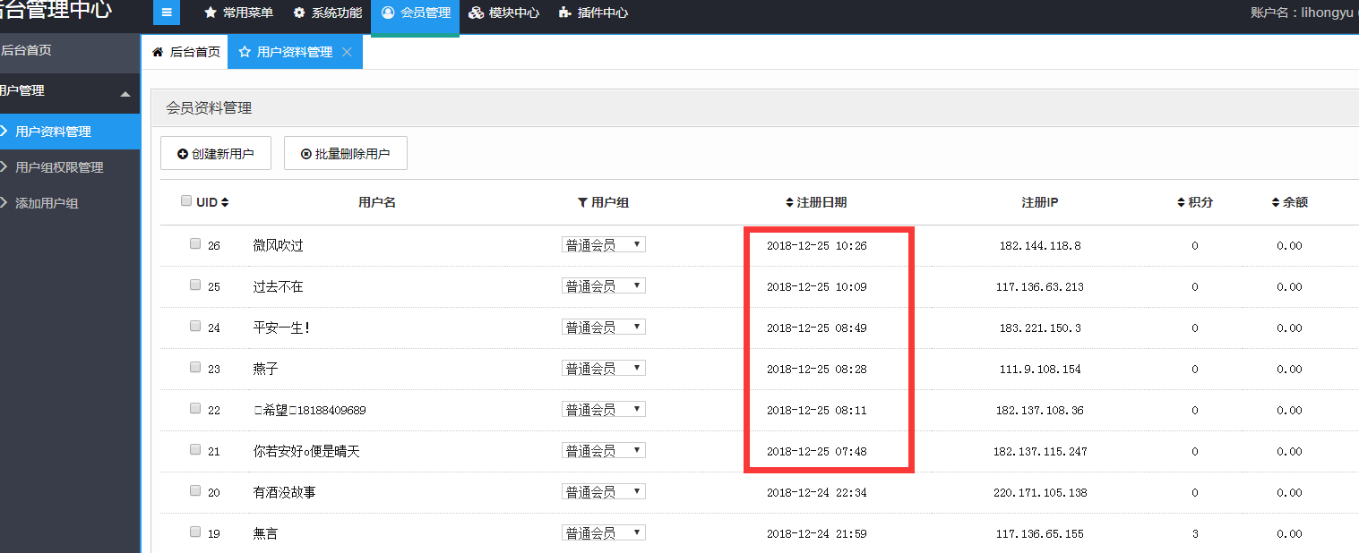
这风格统计有问题啊
Fighting-2281
消费34.25元
2018-12-25 10:57 10:57
普通粉丝
672
2
明明是6个,统计只有1个
6
赏礼
赏钱
收藏
点击回复
全部留言
共
2
条
阿赖耶识
程序开发者
消费:24.43元 2018-12-25 11:05 11:05
6楼
那个1是假的的,写死的,模板里就一个1
Fighting-2281
消费:34.25元
2018-12-25 11:14
啊,哈哈,好吧,那我自己去改下
0
赏钱
赏礼
回复
与天地合其德,与日月合其明,与四时合其序,与鬼神合其吉凶
更多回复
你可能感兴趣的主题
有问题
统计
问题
风格
恢复多功能编辑器
3
1
发表回复
X1运营交流
发表圈内新贴
圈内贴子
51647
圈子成员
1018
本圈子内的新贴
更多
热门分类
官方动态
功能建议
插件模块
风格模板
问题反馈
技术交流
站长杂谈
代码共享
V系列产品
运营交流
推荐内容
更多
扫一扫访问手机版
3
1
回到顶部
请选择要切换的马甲:
网页即时交流
客服MM
QQ咨询
81684210
咨询热线
020-28998648